Proven Strategies. Measurable Impact.
AI-driven tools, scalable systems, and strategic roadmaps that deliver growth and efficiency—fast.

AI & Analytics
90 days. 12 months. 3 wins.
Building an AI Assistant—From Concept to Market in 12 Months.
- Delivered a high-visibility AI prototype in 90 days.
- Shipped a production version in 12 months, integrating NLP and analytics.
- Generated 20% ROI improvement in marketing outcomes.

AI & Analytics
AI Science Meets Business Impact.
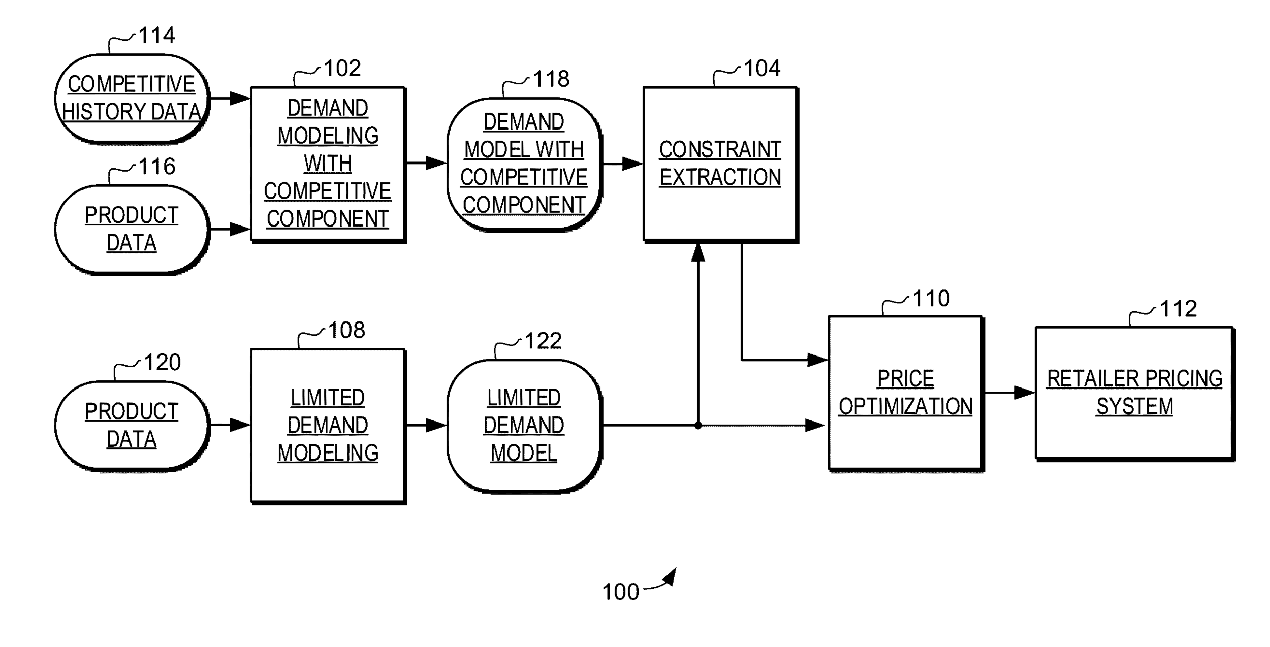
Patented AI Pricing Model That Saved Customers—and Revenue.
- Retained major clients by launching a patented AI pricing model.
- Boosted pricing decisions, influencing 59% of revenue.
- Reduced client churn by 18% while unlocking new revenue streams.

AI & Analytics
Not Just a Demo—A Revenue Machine.
$1M in Deals Closed—Selling with Immersive AI.
- Built an immersive, interactive AI demo with Oblong in 6 weeks, showcasing product capabilities.
- Delivered $1M+ in pipeline acceleration and shortened sales cycles by 12 months.
- Designed as a reusable framework for future engagements.
Organizational Turnarounds
Cut Costs. Boost Growth. Scale Teams.
From Burn Rate to Breakthrough—80% Cost Savings.
- Cut tech spend by 80% while increasing conversions by 30%.
- Rebuilt distributed teams and implemented Agile workflows.
- Scaled infrastructure to support 200% traffic growth.

Research Transformation
From Evaluative to Generative Research.
Turning Research Into Strategy—Using Jobs-to-Be-Done.
- Transitioned a qualitative research team to generative research practices.
- Integrated Jobs-to-Be-Done (JTBD) frameworks, improving usability by 22 points.
- Linked insights directly to product roadmaps and KPIs.

Product Management
From Insights to Impact—Empowering Teams with Data.
Scaling Teams Through Data-Driven Decisions.
- Built scalable product analytics frameworks to democratize data access.
- Empowered teams to track behaviors, optimize funnels, and test hypotheses.
- Unified cross-functional teams through data-driven workflows, accelerating execution.
Let's Build Smarter Strategies.
From AI innovation to process optimization—let's deliver measurable results.
Have a project in mind? A collaboration proposal? Or do you just want to get in touch?
You can also send me a message here